Customer Service
 1-844-974-2400

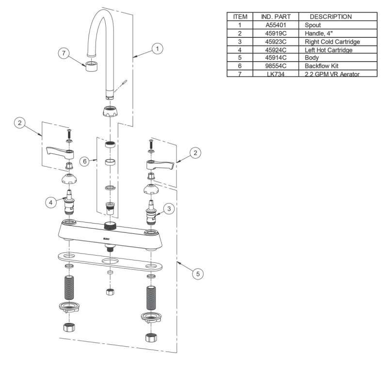
8" Centerset With Exposed Deck Faucet With 5" Gooseneck Spout 4" Wristblade Handles Chrome, LK810GN05T4

8" Centerset With Exposed Deck Faucet With 5" Gooseneck Spout 4" Wristblade Handles Chrome, LK810GN05T4

  • In Production
  • Brand: Elkay
  • Model # LK810GN05T4

Elkay commercial faucets combine performance and style. From the commercial kitchen to the classroom, we have faucets for a variety of applications. Select from options and styles that make it easier to take on the tasks you do every day.

  • ADA COMPLIANT: Faucet is ADA compliant
  • LEAD-FREE COMPLIANT: Certified and tested to NSF/ANSI/CAN 61 and 372 to meet all federal and state regulations for low or no-lead products
  • LOW FLOW: Includes water-saving features
  • SOLID BRASS CONSTRUCTION: Built for long-term durability
  • 3 FAUCET HOLES: Faucet designed to be installed using three faucet holes
  • SPOUT SWING RESTRICTOR PIN: Special pin locks faucet into stationary position for required applications
ASME Standards ASME A112.18.1
Brand Elkay
CSA Standards CSA B125.1
Deck Clearance 7.325
Faucet Hole Size 1.375
Features Faucets Low Flow;Solid Brass Construction;Spout Swing Restriction Pin
NPCC Yes
NSF Standard 14 No
NSF Standard 372 Yes
NSF Standard 61 Yes
Number Faucet Holes Required 3
Product Style Traditional
Prop 65 Warning Yes
Specifications Spec Sheet
Installation
Warranty
Spout Height 10.6875
Spout Reach 5.125
Spread In Inches 8
Product Type Faucet
Collection Elkay®
Color Chrome
Width (in) 6.625
Length (in) 16
Height (in) 14.875
Material Chrome-plated Brass
Weight (lb) 4.5
Ada Compliant Yes
Application Food Service
Cartridge Type Quarter Turn Ceramic Disc
Handle Type 4" Wrist Blade
Installation Deck-mount
Lead Law Compliant Yes
Number of Handles 2
Spout Type Gooseneck
UPC Listed cUPC
Watersense No

Tags: 039-8607

>>
Custom Items
Name Qty Action
The product is currently Out-of-Stock. Enter your email address below and we will notify you as soon as the product is available.