Elkay commercial faucets combine performance and style. From the commercial kitchen to the classroom, we have faucets for a variety of applications. Select from options and styles that make it easier to take on the tasks you do every day.
- LEAD-FREE COMPLIANT: Certified and tested to NSF/ANSI/CAN 61 and 372 to meet all federal and state regulations for low or no-lead products
- LOW FLOW: Includes water-saving features
- SOLID BRASS CONSTRUCTION: Built for long-term durability
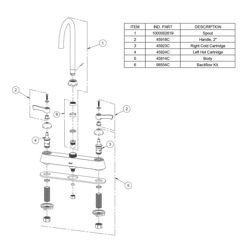
- 3 FAUCET HOLES: Faucet designed to be installed using three faucet holes
- ADA COMPLIANT: Faucet is ADA compliant
- SPOUT SWING RESTRICTOR PIN: Special pin locks faucet into stationary position for required applications
| ASME Standards | ASME A112.18.1 |
| Brand | Elkay |
| CSA Standards | CSA B125.1 |
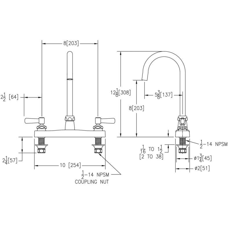
| Deck Clearance | 7.325 |
| Faucet Hole Size | 1.375 |
| Features Faucets | Low Flow;Solid Brass Construction;Spout Swing Restriction Pin |
| NPCC | Yes |
| NSF Standard 372 | Yes |
| NSF Standard 61 | Yes |
| Number Faucet Holes Required | 3 |
| Product Style | Traditional |
| Prop 65 Warning | Yes |
| Specifications | Spec Sheet Installation Warranty |
| Spout Height | 10.6875 |
| Spout Reach | 5.125 |
| Spread In Inches | 8 |
| Product Type | Faucet |
| Collection | Elkay® |
| Color | Chrome |
| Width (in) | 6.71875 |
| Length (in) | 12.375 |
| Height (in) | 13.875 |
| Material | Chrome-plated Brass |
| Weight (lb) | 5 |
| Ada Compliant | Yes |
| Application | Food Service |
| Cartridge Type | Quarter Turn Ceramic Disc |
| Flow Rate (GPM) | 1.5 |
| Handle Type | 2" Lever Handle |
| Installation | Deck-mount |
| Lead Law Compliant | Yes |
| Number of Handles | 2 |
| Spout Type | Gooseneck |
| UPC Listed | cUPC |


