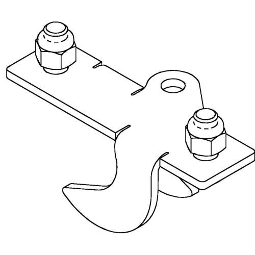
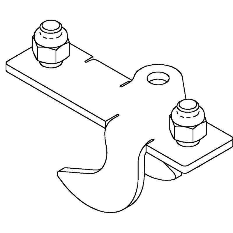
3M™ DBI-SALA® Temporary Cable Horizontal Lifeline I-Beam HLL Stanchion Intermediate Bracket or perpendicular bypass bracket kit for SecuraSpan™ I-beam stanchion.
- Hardware kit included to bolt to existing horizontal I-beam stanchion
- Various lengths and individual components are available
- Pass-thru 100% tie-off protection
- Lightweight and portable design
- Extremely durable construction
| Guides & Documents | Spec Sheet |
| Brand | 3M |
| Product Type | Perpendicular I-Beam HLL Stanchion Intermediate Bracket |
| Collection | DBI-SALA® |
| Weight (lb) | 2.0 |


